关于建立以徐州为省会的淮海省是痴人说梦还是确实可行
关于建立以徐州为省会的淮海省是痴人说梦还是确实可行
早前在就看到过不少类似的文章,昨儿个又瞧见了一篇,评论里说什么的都有。江苏拿出徐州、宿迁、连云港,安徽拿出宿州和淮北,山东拿出菏泽、枣庄、济宁、临沂,河南拿出商丘,十座城市构建淮海省。这十座城市在山东、江苏、河南、安徽四省看似无关紧要,真要是拿出来组建一个淮海省,四家应该都不会同意。
以2021年各项数据为参照,我们从GDP和人口数量,以及一些现行的政策分析一下淮海省成立的阻力与可行性。

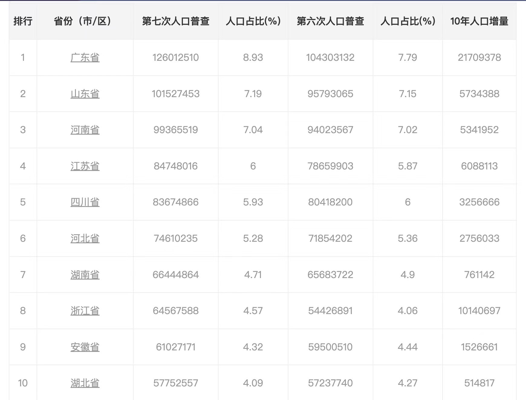
江苏2021年全省GDP总量为116364.2亿,山东是83095.9亿,河南58887.49亿,安徽42959.2亿。其中江苏的徐州、宿迁、连云港,2021年GDP分别为8117.44亿、3719.01亿、3727.92亿,三市总计15564.37亿;安徽的淮北和宿州,2021年GDP分别为1223亿、2167.7亿,二市合计3390.7亿;山东临沂5465.5亿、枣庄1951.57亿、菏泽3976.67亿、济宁5069.96亿,四市GDP16463.7亿;河南商丘GDP3083.3亿。
十座城市加在一起,GDP总量在38502.07亿,这个体量在全国范围内,仅次于北京的40269.6亿,而失去上述城市的江苏,GDP只有100799.83亿;山东更惨,只有66632.2亿;河南是55804.19;安徽比十城融合的所谓“淮海省”只多一千多亿,为39875.9,同样比不过北京。

从GDP上来看,成立淮海省之后,江苏的GDP和广东的124370亿会进一步被拉开,千年老二的帽子这辈子别想摘掉;山东会被浙江以近七千亿的体量甩在身后;河南的55804.19,也仅仅比四川高出两千亿;最惨的还是安徽,将和“淮海省”一起在三到四万亿区间混,名次会降到14。当然了,人均GDP上述四省会起飞,毕竟这十座城市人口数量巨大,减少这么多人口之后,尤其是江苏和山东,人均绝对能上一个大台阶,有对人均GDP感兴趣的朋友,可以自己算一下。
接下来说一下人口。
上述十市的人口分别为江苏三市9083790人、4599360人、4986192人,江苏总人口8505.4万人,去掉三市余下66384658人,这个体量和浙江差不多;河南总人口为9883万人,去掉商丘772.3万人,余下9110.7万人;安徽总人口为6113万人,去两市532.44万人、197.02万人,余下5383万人;最惨的是山东,原有人口10170万人,去掉四市人口分别为1101.8万人、879.6万人、835.8万人、385.6万人,仅余下6967.2万人,从人口大省瞬间掉到第五位,还在河北之后。

十市所组成的“淮海省”,总人口为6571.49万人,人均GDP为5.858万元,这个数字仅仅比青海强一些,也难怪很多人非常不看好这个区域。
那么从现行的发展政策来看,一旦上述十市真的成为一个省,那么以徐州本身就拥有的交通优势,加上新省省会的加持,交通优势会进一步被放大,如此一来对西边的郑州,就会构成极大的压力。而失去了商丘的河南,不管是从历史的厚度还是从文化底蕴上,都会减弱三分。

而没了临沂、济宁、枣庄、菏泽的山东,只能称“齐”了,历史人文至少降低三分之二;而青岛的发展也会因为连云港的发展受到一定程度的影响,毕竟连云港市我国首批开发的十四个沿海城市中发展最差的一个,一旦淮海省成立,作为“淮海省”唯一的出海口和深水港,临沂等地的制造业势必会转投连云港,而非青岛,此消彼长,连云港的港口优势必定会迎来一个全新的突破和发展。
没了徐州、连云港、宿迁三地的江苏,缺失了两汉文化的底蕴和耕地指标,没酒没猴没潜力,经济上面对广东再无翻身之力,战略上无险可守。从解放战争上溯到历次战争,没了徐州防线的江南之地,就是一波爆水晶,所谓的长江天险,不过是后主们的自我安慰罢了。唯一没多大感觉的是安徽,毕竟宿州和淮北两地,在安徽也没什么存在感,这两个地方和徐州更亲近,历史上也本就是一家。

徐州、商丘、济宁等十座城市所汇成的淮海区位囊括了自夏商至现代五千多年中华文明史的精华,这个区位是当之无愧的九州核心,因为一些历史原因,比如战争、黄河渡淮引发的水患等,造成赤地千里,民不聊生,但自打新中国成立之后,修建苏北灌溉总渠,淮河入海,黄河北上,无战争爆发之威胁,即便有耕地红线牵着,苏北、鲁南、豫东、皖北交汇之地,必有龙飞!
最后,期待以徐州都市圈为首的淮海经济区,在经济、文化、教育、医疗等方面都能取得辉煌发展,祝愿神州大地繁荣昌盛,团结如一!
标签:
